Monitoring Battery Stacks in Remote Energy-Harvesting Applications
Avec la contribution de Electronic Products
2013-10-30
In energy-harvesting applications, battery backup plays a critical role in maintaining power output when energy from ambient sources dwindles below useful levels. To maintain battery performance and safety, these applications need the ability to communicate battery status and fault states to central servers and operators. In particular, safe operation of battery stacks requires careful monitoring to detect cell defects, shorts, and degradation that can cause batteries to fail. As an example, safety concerns associated with lithium-ion battery stacks are driving a need for continuous cell monitoring and rapid communication of faults and potential problems to human operators able to intervene before serious failures can occur.
Designers can implement efficient remote battery-monitoring functionality by drawing on available devices from IC manufacturers including Analog Devices, Atmel, Linear Technology, Maxim Integrated, Silicon Labs, and Texas Instruments.
Remote battery-monitoring subsystems combine battery monitoring and wireless communications capabilities based on MCUs paired with low-power RF transceivers or MCUs with integrated wireless functionality for communication of battery status to central facilities (Figure 1).


In many applications, low-power MCUs with integrated ADCs can provide the required level of cell monitoring, measuring cell voltages and executing software routines to identify faults. The Texas Instruments MSP430F2012 and MSP430F2013 16-bit MCUs combine low-power operation with an integrated ADC, analog comparator, memory, and serial interface. Engineers can select a 10-bit ADC with the MSP430F2012, or a 16-bit sigma-delta ADC with the MSP430F2013 for applications requiring higher-resolution measurements.
Paired with a Texas Instruments CC2500 2.4 GHz transceiver or CC2520 ZigBee transceiver, integrated MCUs such as TI's can provide a complete remote battery-monitoring solution. Alternatively, designers can opt for MCUs such as the Silicon Labs SI1031 MCU, which integrates a high-speed 8051 core with 12-bit ADC, memory, multiple digital peripherals, and ISM-band transceiver. The Silicon Labs SI1021 also provides an integrated LCD controller to support local display features.
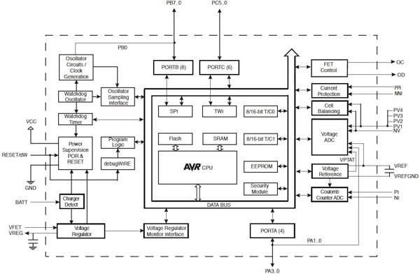
Designed specifically for battery management, the Atmel ATMEGA32HVB combines the company's AVR 8-bit MCU with a 12-bit ADC, 18-bit coulomb counter-current ADC, and memory to monitor up to four Li-ion cells for over-current, high-current, and short-circuit faults (Figure 2). Atmel designed the ATMEGA32HVB to provide safety for battery cells in case of pin shorting, bad charger connections, software errors, or loss of power caused by battery pack or VCC short. The device also provides an External Protection Input that allows engineers to use external components to implement specialized battery-protection features.

In operation, software running on the ATMEGA32HVB can monitor individual cell voltage, as well as on-chip temperature and external temperature using two input channels for external thermistors. The coulomb counter accumulates charge and discharge currents to report accumulated current at high-resolution or instantaneous current measurements at 13-bit resolution.
For systems with large battery stacks or applications requiring deeper battery protection, engineers can draw on a variety of battery-management ICs able to monitor critical performance parameters of cell stacks and provide signals to the MCU when faults arise. Advanced battery-management ICs such as the Analog Devices AD8280, Linear Technology LTC680x, Maxim Integrated MAX1492x, and Texas Instruments BQ76PL536 are designed to monitor large battery stacks typically used in energy-harvesting applications for energy storage and power backup. Devices in this class typically integrate a high-resolution ADC, precision voltage references, a high-voltage input multiplexer, and a serial interface for communications with a host MCU.
The Analog Devices AD8280 supports up to six Li-ion cells and provides a unique self-test feature designed for high-reliability applications. In self-test mode, the AD8280 produces internal fault conditions and compares the results to expected results, signaling an alarm if the self-test fails.
Devices in the Linear Technology LTC680x family can monitor up to 12 Li-ion cells simultaneously. While the LTC6801 and LTC6802 devices are designed for Li-ion cell monitoring, the LTC6803 supports Li-ion, supercapacitor, and multi-chemistry battery monitoring, and the LTC6804 supports Li-ion and NiMH battery monitoring.
Maxim Integrated's MAX1492x family supports up to 12 Li-ion cells with the MAX14920 and up to 16 cells with the MAX14921. The Texas Instruments BQ76PL536 IC supports up to six Li-ion cells.
All devices in this class provide the capability to daisy chain multiple devices to monitor large stacks of cells. Engineers can stack the Texas Instruments BQ76PL536 vertically to monitor up to 192 Li-ion cells without requiring isolation components between the ICs. As with many devices of this type, the BQ76PL536 provides a high-speed serial peripheral interface (SPI) bus to communicate with an MCU such as the TI MSP430F5529 low-power 16-bit MCU.
Daisy chained to monitor large Li-ion stacks, the BQ76PL536 integrates a voltage translation and precision ADC to measure cell voltages accurately and rapidly. On receiving the CONV convert signal either directly from the host MCU or through the daisy chain, the device initiates a conversion cycle with its integrated 14-bit high-speed successive-approximation register (SAR) ADC. The device feeds the ADC through a front-end multiplexer with nine inputs for six cells, two temperature sensors, and one general-purpose analog input.
Dedicated circuitry in the BQ76PL536 provides overvoltage and undervoltage fault detection for each cell and two overtemperature fault-detection inputs. The device provides FAULT and ALERT outputs when cell values exceed safety thresholds. The BQ76PL536 provides these protection output signals through I/O pins that are separate from the host communications bus, enabling fault signaling in hardware without host MCU intervention. In large Li-ion stacks, engineers can daisy chain these signals to enable isolation of protection signals to specific cells and cell strings (Figure 3).

In summary
For standalone energy-harvesting applications, engineers can enhance battery operation and safety using remote monitoring subsystems that combine battery cell measurement capabilities with wireless communications. Highly-integrated low-power MCUs with paired or integrated wireless capabilities can address the needs of many of these types of applications. For more stringent monitoring requirements, specialized battery-management ICs can provide detailed measurements and automatic fault detection. Using these available ICs, engineers can augment remote or standalone energy-harvesting designs with the ability to monitor their battery systems and communicate battery status to central facilities.
For more information on the parts discussed in this article, use the links provided to access product information pages on the DigiKey website.
Avertissement : les opinions, convictions et points de vue exprimés par les divers auteurs et/ou participants au forum sur ce site Web ne reflètent pas nécessairement ceux de DigiKey ni les politiques officielles de la société.




