Di norma, gli ordini destinati all'Svizzera sono consegnati entro 48 ore, a seconda della località.
Spedizione gratuita in Svizzera per ordini superiori a $60 USD. A tutti gli ordini inferiori a $60 USD verrà aggiunto un costo di spedizione di $22 USD.
UPS, FedEx o DHL nolo prepagato: DDP (dazi doganali pagati da DigiKey)
Conto di credito per istituzioni e imprese qualificate
Pagamento anticipato tramite bonifico bancario
Altri prodotti da Partner pienamente autorizzati
Tempo medio di spedizione 1-3 giorni; potrebbero essere applicate spese di spedizione supplementari. Consultare la pagina del prodotto, il carrello e la procedura di acquisto per i tempi di spedizione effettivi.
Incoterms: CPT (dazi doganali e imposte/IVA da versare alla consegna)
Per maggiori informazioni, visitare la pagina Assistenza
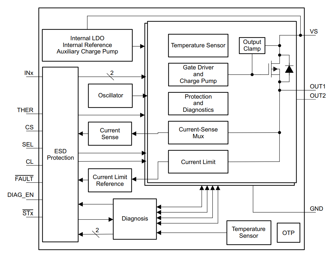
Texas Instruments TPS2H160EVM evaluation module contains a TPS2H160-Q1 integrated circuit (IC), supporting dual channel high side switch application. The purpose of this EVM is to facilitate evaluation of the TPS2H160-Q1 for resistive, capacitive, inductive load.
The TPS2H160-Q1 family is a fully protected dual-channel high-side power switch, with integrated NMOS power FET and charge pump. Full diagnostics and high-accuracy current-sense features enable intelligent control of the load. The device diagnostic reporting has two versions to support both digital status output and analog current sense reports. The diagnostics can be disabled for multiplexing the sense pin between different devices. Thermal shutdown behaviors as latch off or auto-retry are internally fixed in the part. External programmable current limit improves the reliability of the system by limiting the inrush or overload current.
This EVM supports the following features:
Operating junction temperature: –40°C to 150°C
Highly accurate current sense
Adjustable current limit with external resistor
Multiplex high accuracy current sense or ST report
Tested according to AECQ100-12
Certification of ISO7637-2 and ISO16750-2
Manufacturer | Texas Instruments |
---|---|
Category | Power Management |
Sub-Category | Load or Power Distribution Switches |
Eval Board Part Number | 296-44778-ND |
Eval Board Supplier | Texas Instruments |
Eval Board |
Normally In Stock
|
Current Out |
2.5 A
|
Voltage In |
3.4 ~ 40 V
|
Features |
Current Limit (Adj. or Fixed)
Fault Indication Short Circuit Protection Shutdown, Enable, Standby Thermal Protection |
On Resistance (Typ) @ Vin |
160 mΩ @ 3.3 V
|
Standby Current [Typical] |
500 nA
|
Power Dissipation (Max) |
- Not Given
|
Quiescent Current [Typical] |
- Not Given
|
Component Count + Extras |
29 + 41
|
Application / Target Market |
Automotive
|
Design Author |
Texas Instruments
|
Main I.C. Base Part |
TPS2H160
|
Standby Current [Maximum] |
5 µA
|
Quiescent Current [Maximum] |
7 mA
|
Date Created By Author | 2016-08 |
Date Added To Library | 2020-03 |
Co-navigazione
L'uso della funzione di co-navigazione implica il consenso alla visualizzazione remota del proprio browser da parte di un tecnico dell'assistenza DigiKey. Quando si apre la finestra Co-navigazione, fornire al tecnico l'ID della sessione indicato nella barra degli strumenti.
DigiKey rispetta il diritto alla privacy. Per ulteriori informazioni, consultare la nostra Informativa sulla privacy e Informativa sui cookie.
Sì, abilita la co-navigazioneOttieni risposte veloci e precise dai tecnici e dagli esperti di DigiKey sul nostro TechForum.
Visita la pagina Assistenza del nostro sito Web per tutte le informazioni su ordini, spedizioni, consegne e molto altro.
Gli utenti registrati possono tener traccia degli ordini dal menu a discesa del proprio account, oppure facendo clic qui. *L'aggiornamento di stato di un ordine potrebbe richiedere anche 12 ore una volta effettuata l'ordinazione iniziale.
Gli utenti possono iniziare la procedura di restituzione dalla pagina Resi.
Gli utenti registrati possono creare preventivi da myLists.
Visitate la pagina di registrazione e inserite le informazioni richieste. Riceverete una mail di conferma al completamento della registrazione.
Di norma, gli ordini destinati all'Svizzera sono consegnati entro 48 ore, a seconda della località.
Spedizione gratuita in Svizzera per ordini superiori a $60 USD. A tutti gli ordini inferiori a $60 USD verrà aggiunto un costo di spedizione di $22 USD.
UPS, FedEx o DHL nolo prepagato: DDP (dazi doganali pagati da DigiKey)
Conto di credito per istituzioni e imprese qualificate
Pagamento anticipato tramite bonifico bancario
Altri prodotti da Partner pienamente autorizzati
Tempo medio di spedizione 1-3 giorni; potrebbero essere applicate spese di spedizione supplementari. Consultare la pagina del prodotto, il carrello e la procedura di acquisto per i tempi di spedizione effettivi.
Incoterms: CPT (dazi doganali e imposte/IVA da versare alla consegna)
Per maggiori informazioni, visitare la pagina Assistenza
Grazie!
Tieni d'occhio la posta in arrivo, che conterrà notizie e aggiornamenti da DigiKey!
Immettere un indirizzo e-mail